Nissan Qashqai 2024 Gebruikershandleiding
6.3.1.2. Beschikbare weergaven (modellen met 3D-weergave)

De afstandsrichtlijnen en de voertuigbreedtelijnen mogen alleen als referentie worden gebruikt wanneer de auto zich op een vlak, verhard wegdek bevindt. De schijnbare afstand weergegeven op de monitor kan afwijken van de werkelijke afstand tussen de auto en weergegeven objecten.
Gebruik de weergegeven lijnen en de bovenweergave als referentie. De lijnen en de bovenweergave worden sterk beïnvloed door het aantal inzittenden, het brandstofniveau, de huidige voertuigpositie, de staat van het wegdek en de helling.
Indien de banden vervangen zijn door banden met andere afmetingen, dan worden de geschatte koerslijnen en de bovenweergave mogelijk onjuist weergegeven.
Wanneer u een heuvel oprijdt, zijn de objecten die op de monitor getoond worden verder weg dan ze op de monitor lijken. Wanneer u een heuvel afrijdt zijn de objecten dichterbij dan ze op de monitor lijken.
Objecten die worden getoond in de achterweergave verschijnen tegenovergesteld ten opzichte van het beeld gezien in de achteruitkijkspiegel en de buitenspiegels.
Gebruik de spiegels of kijk naar buiten om de afstand tot andere objecten correct in te schatten.
De afstand tussen objecten, weergegeven in de achterweergave, verschilt van de werkelijke afstand vanwege het gebruik van een groothoekcamera.
Op besneeuwde of gladde wegen kunnen de geschatte koerslijnen mogelijk verschillen van de werkelijke koerslijnen.
De voertuigbreedtelijnen en de geschatte koerslijnen worden in verhouding breder op het scherm weergegeven dan de werkelijke breedte en koers eigenlijk zijn.
Voor- en achterweergave


Richtlijnen die bij benadering de breedte van het voertuig en de afstand tot objecten aangeven ten opzichte van de voertuigcarrosserielijn (A), worden op de monitor weergegeven.
Voertuigbreedtelijnen (1):
Geven de voertuigbreedte aan.
Geschatte koerslijnen (2):
Geven de geschatte koers aan wanneer u het voertuig bedient. De geschatte koerslijnen zullen verschuiven afhankelijk van de mate waarin het stuurwiel wordt gedraaid.
Afstandsrichtlijnen:
Geven de afstand aan vanaf de voertuigcarrosserie.
Rode lijn (3): ongeveer 0,5 m (1,5 ft)
Blauwe lijn (4): ongeveer 1 m (3 ft)
Blauwe lijn (5): ongeveer 2 m (7 ft)
Blauwe lijn (6): ongeveer 3 m (10 ft)
De voorweergave wordt niet getoond wanneer de rijsnelheid hoger is dan 20 km/u (12 mph).
Wanneer de snelheid 20 km/h, (12 MPH) overschrijdt, schakelt het scherm over naar het navigatiescherm (indien aanwezig) en wordt de weergave beperkt.
Bovenweergave

De bovenweergave toont het aanzicht van de auto in vogelperspectief, waarbij het makkelijker is om de voertuigpositie en de geschatte koers naar een parkeerplek te bepalen.
Het voertuigpictogram (1) toont de voertuigpositie. Houd er rekening mee dat de afstand tussen objecten die in de bovenweergave worden getoond niet overeenkomt met de werkelijke afstand.
De geschatte koerslijnen (2) geven de voorspelde koers aan tijdens het bedienen van de auto.
De amber markeringen (3) worden weergegeven en de sonar wordt uitgeschakeld of de sonar is niet beschikbaar bij de hoek.

Objecten in de bovenweergave lijken verder weg dan ze in werkelijkheid zijn.
Grote objecten, zoals een stoeprand of een voertuig, worden mogelijk onjuist uitgelijnd of niet getoond op de overgang tussen de verschillende weergaven.
Objecten die zich boven de camera's bevinden kunnen niet worden weergegeven.
De weergave in vogelperspectief wordt mogelijk onjuist uitgelijnd wanneer de positie van de camera verandert.
Een lijn op de grond wordt mogelijk onjuist uitgelijnd of niet herkend als recht als deze op de overgang tussen de verschillende weergaven komt te liggen. De onjuiste uitlijning neemt toe naarmate de afstand tot de auto groter wordt.
Locatie opslaan (indien aanwezig)
U kunt de punten opslaan waar de panoramische voorweergave automatisch verschijnt wanneer het voertuig zich binnen ongeveer 30 meter (110 ft) van een opgeslagen locatie bevindt. Dit kan nuttig zijn wanneer de bestuurder de blinde hoeken op kruispunten met slechte zichtbaarheid bijvoorbeeld moet controleren.
Om een locatie op te slaan, tik op het pictogram Locatie opslaan
(indien aanwezig).
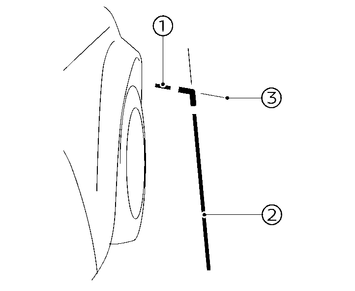
Voor-zijweergave

Richtlijnen:
Richtlijnen die de breedte, bij benadering, en het vooreinde van het voertuig aangeven, worden op de monitor weergegeven.
De voertuigfrontlijn (1) toont het voorste deel van het voertuig.
De voertuigzijlijn (2) toont de voertuigbreedte, inclusief de buitenspiegels.
De verlengingen (3) van zowel de frontlijn (1) als de zijlijn (2) worden door middel van een blauwe lijn weergegeven.

De richtingaanwijzer kan er uitzien als een voertuigzijlijn. Dit duidt niet op een storing.
Panoramische voor-/achterweergave


Terwijl de voorweergave/achterweergave een normale weergave tonen op het gesplitste scherm, tonen de panoramische voorweergave/panoramische achterweergave een groter gebied op het gehele scherm en bieden de mogelijkheid om de blinde hoeken aan de rechter- en linkerkant te controleren.
Voertuigbreedtelijnen (1):
Geeft bij benadering de voertuigbreedte aan.
Geschatte koerslijnen (2):
Geven de geschatte koers aan wanneer u het voertuig bedient. De geschatte koerslijnen zullen verschuiven afhankelijk van de mate waarin het stuurwiel wordt gedraaid.
Afstandsrichtlijnen:
Geven de afstand aan vanaf de voertuigcarrosserie.
Rode lijn (3) : ongeveer 0,5 m (1,5 ft)
Blauwe lijn (4): ongeveer 1 m (3 ft)
Blauwe lijn (5): ongeveer 2 m (7 ft)
Blauwe lijn (6): ongeveer 3 m (10 ft)
De panoramische voorweergave wordt niet getoond wanneer de rijsnelheid hoger is dan 20 km/u (12 MPH).
Wanneer de snelheid 20 km/h, (12 MPH) overschrijdt, schakelt het scherm over naar het navigatiescherm (indien aanwezig) en wordt de weergave beperkt.

Wanneer de monitor de panoramische voorweergave toont en u draait het stuurwiel ongeveer 90 graden of minder vanuit de neutrale stand, dan worden de geschatte koerslijnen (6) zowel aan linker- als aan rechterzijde weergegeven. Wanneer het stuurwiel ongeveer 90 graden of meer wordt gedraaid, dan zal de geschatte koerslijn alleen worden weergegeven aan de tegenovergestelde zijde van de bocht.
Zoomweergave achter (indien aanwezig)
De zoomweergave achter toont een vergrote weergave van het achterste grondgebied. Dit biedt een duidelijke, beperkte achterweergave met de geschatte middellijn, wat bijvoorbeeld nuttig kan zijn bij het koppelen van een aanhanger aan het voertuig.
Om de zoomweergave achter in of uit te schakelen, tik op het pictogram Zoomweergave achter wanneer het camerascherm wordt weergegeven
.
Transparante motorkapweergave (indien aanwezig)

De transparante motorkapweergave stelt de gebruiker in staat om het wegdek onder de virtueel transparante voertuigcarrosserie te zien. Dit kan nuttig zijn voor het uitlijnen van de voorwielen met de rails van een automatische autowasstraat, of om te voorkomen dat de zijkant van het voertuig tegen stoepranden botst bij het rijden met lage snelheid, bijvoorbeeld.
Tik op het pictogram Transparante motorkapweergave (8) om de transparante motorkapweergave te activeren. Het eerste beeld wordt weergegeven nadat het voertuig ongeveer 3 meter (10 feet) heeft afgelegd. Om de transparante motorkapweergave uit te schakelen, selecteer een andere weergave.

Het beeld van het wegdek onder de carrosserie is een samenstelling van de beelden van de voorcamera en toont niet daadwerkelijk het wegdek onder de carrosserie van het voertuig.
Geschatte koerslijnen (1):
Geven de geschatte koers aan wanneer u het voertuig bedient. De geschatte koerslijnen zullen verschuiven afhankelijk van de mate waarin het stuurwiel wordt gedraaid. De geschatte koerslijnen in de achterweergave zullen niet worden weergegeven wanneer het stuurwiel in de rechtuitstand staat.
Afstandsrichtlijnen (2) - (5):
Afstandsrichtlijnen:
Geven de afstand aan vanaf de voertuigcarrosserie.
Rode lijn (2) : ongeveer 0,5 m (1,5 ft)
Blauwe lijn (3): ongeveer 1 m (3 ft)
Blauwe lijn (4): ongeveer 2 m (7 ft)
Blauwe lijn (5): ongeveer 3 m (10 ft)
Voertuigomtrek (6):
Geeft de omtrek van het voorste gedeelte van het voertuig aan.
Lijnen van wielgebied (7):
Geeft de omtrek van de voorwielen aan.
Pictogram Transparante motorkapweergave (8):
Tik op dit pictogram om de transparante motorkapweergave te activeren.
De transparante motorkapweergave wordt niet weergegeven wanneer de voertuigsnelheid hoger is dan 20 km/u (12 MPH).
3D-weergave (indien aanwezig)

De 3D-weergave toont het 360-graden zicht rondom het voertuig, wat helpt bij het bevestigen van de voertuigpositie en de geschatte koers naar een parkeerplaats. De 3D-weergave is niet beschikbaar wanneer de R-stand (achteruit) is geselecteerd.
Het voertuigbeeld (1) draait door te tikken op het rotatiepictogram (2). Wanneer op het rotatiepictogram wordt getikt, zullen het voertuigbeeld en het beeld van de omgeving verschijnen en 360° draaien om de omgeving van het voertuig te controleren.
Het voertuigbeeld kan ook worden gedraaid door over het voertuigbeeld zelf te vegen.
8 verschillende camerarichtingen kunnen worden geselecteerd door op het camerapositiepictogram (3) te tikken.
De geschatte koerslijnen (4) geven de voorspelde koers aan tijdens het bedienen van de auto.

De afstand tussen objecten gezien in de 3D-weergave kan verschillen van de werkelijke afstand.
Er zijn enkele gebieden waar het systeem geen objecten zal tonen. Voor meer informatie, zie
[Automatische beweging van 360°] (indien aanwezig)
Wanneer u de <CAMERA> knop voor de eerste keer indrukt nadat de contactschakelaar in de ON-stand is gezet, zullen het voertuigbeeld en het beeld van de omgeving verschijnen en automatisch 360° draaien ([Automatische beweging van 360°]) om de omgeving van het voertuig te controleren.
Om de functie [Automatische beweging van 360°] in of uit te schakelen, wanneer het camerascherm wordt weergegeven, tik op
om het menu [Instellingen] te openen. Selecteer vervolgens [Automatische beweging van 360°] om de functie in of uit te schakelen.