Nissan Qashqai e-POWER 2024 Gebruikershandleiding
7.3.1.1. Beschikbare weergaven (modellen zonder 3D-weergave)

De afstandsrichtlijnen en de voertuigbreedtelijnen mogen alleen als referentie worden gebruikt wanneer de auto zich op een vlak, verhard wegdek bevindt. De schijnbare afstand weergegeven op de monitor kan afwijken van de werkelijke afstand tussen de auto en weergegeven objecten.
Gebruik de weergegeven lijnen en de bovenweergave als referentie. De lijnen en de bovenweergave worden sterk beïnvloed door het aantal inzittenden, het brandstofniveau, de huidige voertuigpositie, de staat van het wegdek en de helling.
Indien de banden vervangen zijn door banden met andere afmetingen, dan worden de geschatte koerslijnen en de bovenweergave mogelijk onjuist weergegeven.
Wanneer u een heuvel oprijdt, zijn de objecten die op de monitor getoond worden verder weg dan ze op de monitor lijken. Wanneer u een heuvel afrijdt zijn de objecten dichterbij dan ze op de monitor lijken.
Objecten die worden getoond in de achterweergave verschijnen tegenovergesteld ten opzichte van het beeld gezien in de achteruitkijkspiegel en de buitenspiegels.
Gebruik de spiegels of kijk naar buiten om de afstand tot andere objecten correct in te schatten.
De afstand tussen objecten, weergegeven in de achterweergave, verschilt van de werkelijke afstand vanwege het gebruik van een groothoekcamera.
Op besneeuwde of gladde wegen kunnen de geschatte koerslijnen mogelijk verschillen van de werkelijke koerslijnen.
De voertuigbreedtelijnen en de geschatte koerslijnen worden in verhouding breder op het scherm weergegeven dan de werkelijke breedte en koers eigenlijk zijn.
Voor- en achterweergave


Richtlijnen die bij benadering de breedte van het voertuig en de afstand tot objecten aangeven ten opzichte van de voertuigcarrosserielijn (A), worden op de monitor weergegeven.
Voertuigbreedtelijnen (1):
Geven de voertuigbreedte aan.
Geschatte koerslijnen (2):
Geven de geschatte koers aan wanneer u het voertuig bedient. De geschatte koerslijnen zullen verschuiven afhankelijk van de mate waarin het stuurwiel wordt gedraaid.
Afstandsrichtlijnen:
Geven de afstand aan vanaf de voertuigcarrosserie.
Rode lijn (3): ongeveer 0,5 m (1,5 ft)
Blauwe lijn (4): ongeveer 1 m (3 ft)
Blauwe lijn (5): ongeveer 2 m (7 ft)
Blauwe lijn (6): ongeveer 3 m (10 ft)
De voorweergave wordt niet getoond wanneer de rijsnelheid hoger is dan 20 km/u (12 mph).
Bovenweergave

De bovenweergave toont het aanzicht van de auto in vogelperspectief, waarbij het makkelijker is om de voertuigpositie en de geschatte koers naar een parkeerplek te bepalen.
Het voertuigpictogram (1) toont de voertuigpositie. Houd er rekening mee dat de afstand tussen objecten die in de bovenweergave worden getoond niet overeenkomt met de werkelijke afstand.
De geschatte koerslijnen (2) geven de voorspelde koers aan tijdens het bedienen van de auto.
De rode markeringen (3) worden weergegeven wanneer de sonar wordt uitgeschakeld of wanneer de sonar niet beschikbaar is bij de hoek.

Objecten in de bovenweergave lijken verder weg dan ze in werkelijkheid zijn.
Grote objecten, zoals een stoeprand of een voertuig, worden mogelijk onjuist uitgelijnd of niet getoond op de overgang tussen de verschillende weergaven.
Objecten die zich boven de camera's bevinden kunnen niet worden weergegeven.
De weergave in vogelperspectief wordt mogelijk onjuist uitgelijnd wanneer de positie van de camera verandert.
Een lijn op de grond wordt mogelijk onjuist uitgelijnd of niet herkend als recht als deze op de overgang tussen de verschillende weergaven komt te liggen. De onjuiste uitlijning neemt toe naarmate de afstand tot de auto groter wordt.
Voor-zijweergave

Richtlijnen:
Richtlijnen die de breedte, bij benadering, en het vooreinde van het voertuig aangeven, worden op de monitor weergegeven.
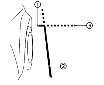
De voertuigfrontlijn (1) toont het voorste deel van het voertuig.
De voertuigzijlijn (2) toont de voertuigbreedte, inclusief de buitenspiegels.
De verlengingen (3) van zowel de frontlijn (1) als de zijlijn (2) worden door middel van een groene stippellijn weergegeven.

De richtingaanwijzer kan er uitzien als een voertuigzijlijn. Dit duidt niet op een storing.
Panoramische achterweergave

Terwijl de achterweergave een normale weergave toont op het gesplitste scherm, toont de panoramische achterweergave een groter gebied op het hele scherm en maakt het mogelijk om de dode hoeken aan de rechter- en linkerzijde te controleren.
Voertuigbreedtelijnen (1):
Geeft bij benadering de voertuigbreedte aan.
Geschatte koerslijnen (2):
Geven de geschatte koers aan wanneer u het voertuig bedient. De geschatte koerslijnen zullen verschuiven afhankelijk van de mate waarin het stuurwiel wordt gedraaid.
Afstandsrichtlijnen:
Geven de afstand aan vanaf de voertuigcarrosserie.
Rode lijn (3) : ongeveer 0,5 m (1,5 ft)
Blauwe lijn (4): ongeveer 1 m (3 ft)
Blauwe lijn (5): ongeveer 2 m (7 ft)
Blauwe lijn (6): ongeveer 3 m (10 ft)