Nissan Qashqai e-POWER 2024 Gebruikershandleiding
5.3.3. Voertuiginformatiedisplay

Wanneer de startknop op AAN wordt gezet, kan het voertuiginformatiedisplay de volgende schermen tonen, indien de auto hiermee is uitgerust:
1. [Home]
2. [Leeg scherm]
3. [Snelheid] (indien aanwezig)
4. [Boordcomputer] — [Gemiddelde snelheid] (Afstand en Tijd)
5. [ECO-pedaalgids]
6. [Gesch. brandst. verbr.]
7. [Bandenspanningen]
8. [Energie stroom]
9. [Navigatie] (indien aanwezig)
10. [Navigatie] (indien aanwezig)
11. [Kompas] (indien aanwezig)
12. [Audio]
13. Telefoonscherm (verschijnt bij het binnenkomen van een oproep)
14. [Rijhulp] (indien aanwezig)
15. ProPILOT Assist (indien aanwezig)
16. [Verkeersborden] (indien aanwezig)
Waarschuwingen. Waarschuwingen worden alleen getoond als ze er zijn. Voor meer informatie over waarschuwingen en indicatielampjes, zie
.17. [MENU]
Om te bepalen wat er op het voertuiginformatiedisplay getoond wordt, zie
.
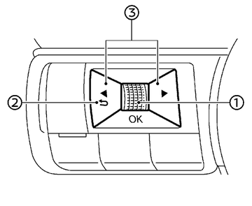
Schakelaars voor het voertuiginformatiedisplay bevinden zich aan de linkerkant van het stuurwiel.
- Navigeer met de bladerknop door de items en verander of selecteer een item op het voertuiginformatiedisplay. Met deze bladerknop is het mogelijk om omhoog/omlaag te navigeren en door indrukken te selecteren
- om terug te gaan naar het vorige menu
- om van het ene displayscherm over te gaan op het volgende (bijv. trip, brandstofbesparing)
De weergegeven afbeeldingen kunnen verschillen afhankelijk van het model.