Nissan Qashqai e-POWER 2024 Gebruikershandleiding
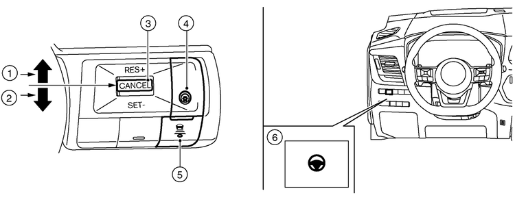
8.20.2. ProPILOT Assist-schakelaars

- <RES+> schakelaar
- Hervat de ingestelde snelheid of verhoogt de snelheid stapsgewijs.
- <SET–> schakelaar
- Stelt de gewenste kruissnelheid in of vermindert de snelheid stapsgewijs
- <CANCEL> schakelaar
- Zet het ICC-systeem uit zonder de ingestelde snelheid te wissen
- ProPILOT Assist-schakelaar:
- Schakelt ProPILOT Assist in of uit
- Afstandsschakelaar
- — Lang
- — Gemiddeld
- — Kort
- Stuurhulpschakelaar
- Schakelt de stuurhulpfunctie in of uit.
Gebruikershandleiding van Nissan