Nissan Qashqai e-POWER 2024 Gebruikershandleiding
7.4.1. Werking van het MOD-systeem (modellen zonder 3D-weergave)
Het MOD-systeem wordt automatisch ingeschakeld onder de volgende omstandigheden:
Wanneer het schakelsysteem in de R-stand (achteruit) staat.
Wanneer de <CAMERA> knop wordt ingedrukt om het Intelligent Around View Monitor-systeem te activeren op het display.
Wanneer de rijsnelheid onder ongeveer 8 km/u (5 MPH) daalt.
Het MOD-systeem werkt in de volgende omstandigheden wanneer de cameraweergave wordt getoond:
Wanneer het schakelsysteem in de P- (parkeren) of N-stand (vrij) staat terwijl de auto stilstaat, detecteert het MOD-systeem bewegende objecten in de bovenweergave. Het MOD-systeem zal niet werken als een van de portieren open staat. Als de buitenspiegels zijn ingeklapt, werkt het MOD-systeem mogelijk niet goed.
Wanneer het schakelsysteem in een rijstand vooruit staat en de voertuigsnelheid lager is dan ongeveer 8 km/u (5 MPH), detecteert het MOD-systeem bewegende objecten in de voorweergave of in de panoramische voorweergave.
Wanneer het schakelsysteem in de R-stand (achteruit) staat en de rijsnelheid lager is dan ongeveer 8 km/u (5 MPH), detecteert het MOD-systeem bewegende objecten in de achterweergave of in de panoramische achterweergave. Het MOD-systeem zal niet werken als de achterklep open staat.
Het MOD-systeem detecteert geen bewegende objecten in de voor-zijweergave. In deze weergave wordt het MOD-pictogram niet op het scherm getoond.
Wanneer het MOD-systeem een bewegend object in de buurt van het voertuig detecteert, wordt het oranje kader weergegeven op de weergave waar het object wordt gedetecteerd en klinkt er eenmaal een geluidssignaal. Zolang het MOD-systeem bewegende objecten blijft detecteren, blijft het oranje kader weergegeven.

Wanneer het RCTA een geluidssignaal (indien aanwezig) geeft, zal het geluidssignaal van het MOD-systeem niet klinken.




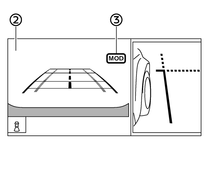
In de bovenweergave wordt het oranje kader (1) in elk camerabeeld (voor, achter, rechts, links) weergegeven, afhankelijk van waar de bewegende objecten worden gedetecteerd.
Het oranje kader (2) wordt weergegeven in de voorweergave, achterweergave, panoramische voorweergave en panoramische achterweergave.
Een groen MOD-pictogram (3) wordt getoond in de weergave waarin het MOD-systeem werkzaam is. Een grijs MOD-pictogram (3) wordt getoond in de weergave waarin het systeem niet werkzaam is.
Als het MOD-systeem is uitgeschakeld, wordt het MOD-pictogram (3) niet weergegeven.