Nissan X-Trail e-POWER 2024 Gebruikershandleiding
5.7.1.3. AUTO-stand
Wanneer de startknop in de ON-stand en de koplampschakelaar in de “AUTO”-stand staat, gaan de koplampen, de stadslichten voor, de dashboardverlichting, de achterlichten en de kentekenplaatverlichting automatisch branden, afhankelijk van de helderheid van de omgeving.
De koplampen gaan automatisch aan wanneer het gaat schemeren of in regenachtig weer (wanneer de ruitenwissers voortdurend in werking zijn).
Wanneer u de startknop op OFF zet, gaan de lichten automatisch uit.


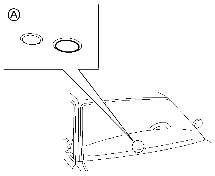
Leg geen voorwerpen bovenop de sensor (A). De sensor neemt het helderheidsniveau waar en regelt de Intelligent Auto Headlight-functie. Als de sensor is bedekt, reageert deze alsof het donker is, en zullen de koplampen gaan branden.
De indeling in de afbeelding is van toepassing op het model met linkse besturing. Bij modellen met rechtse besturing bevindt de sensor zich aan de andere kant.