Nissan X-Trail e-POWER 2024 Gebruikershandleiding
8.2.4.2. Het TPMS resetten
Om te zorgen dat het TPMS goed blijft werken, moet het systeem gereset worden in de volgende gevallen.
wanneer de bandenspanning is aangepast
wanneer een band of wiel is vervangen
wanneer de banden onderling omgewisseld zijn
Voer de volgende procedure uit om het TPMS-systeem te resetten.
Parkeer de auto op een veilige en vlakke plek.
Activeer de parkeerrem en druk op de P-standschakelaar om in de P-stand (parkeren) te schakelen.
Breng de bandenspanning van alle vier de banden op de aanbevolen waarde in KOUDE toestand, zoals aangegeven op de bandenspanningssticker. Gebruik een bandenspanningsmeter om de bandenspanning te controleren.
Zet de startknop in de ON-stand.

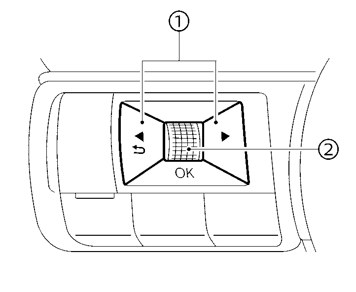
Druk kort op de
knop (1) totdat [MENU] verschijnt en druk dan op de bladerknop (2).Gebruik de bladerknop (2) totdat [Bandenspanningen] wordt geselecteerd en druk op de bladerknop (2).
Gebruik de bladerknop (2) totdat [TPMS resetten] wordt geselecteerd en druk op de bladerknop (2).
Gebruik de bladerknop (2) totdat [Ja] wordt geselecteerd en druk op de bladerknop (2) om het TPMS te resetten.
Nadat het TPMS gereset is, moet er met de auto gereden worden met een snelheid boven de 25 km/u (16 MPH).
Als het waarschuwingslampje lage bandenspanning gaat branden na het resetten, kan dat erop wijzen dat het TPMS niet correct werkt. Laat het systeem controleren door een NISSAN-dealer of erkend garagebedrijf.
Voor informatie over het waarschuwingslampje lage bandenspanning, zie
.