Nissan X-Trail e-POWER 2024 Gebruikershandleiding
4.5.1.4. Gordijnairbagsysteem
Dit systeem beschermt bij bepaalde aanrijdingen van opzij de hoofden van de bestuurder en passagiers die voorin of achterin op de buitenste zitplaatsen zitten. De gordijnairbag is ontworpen om te worden geactiveerd aan de kant van de auto waar de aanrijding plaatsvindt.
Het SRS is ontworpen als aanvulling op de bescherming tegen ongevallen geboden door de veiligheidsgordels en is niet bedoeld als vervanging voor de veiligheidsgordels. De airbags (SRS) kunnen de kans op dodelijk of ernstig letsel verkleinen. Het opblazen van de airbag kan echter ook schaafwonden of ander letsel veroorzaken. Airbags beschermen het onderlichaam niet. De veiligheidsgordels horen daarom steeds op de juiste wijze te worden omgedaan, en inzittenden moeten op gepaste afstand zitten van het stuurwiel, het dashboard en portierbekleding. (Zie
.) De airbags worden snel en met kracht opgeblazen, ter bescherming van de inzittenden. Door de kracht waarmee de airbags worden opgeblazen, bestaat er meer risico op letsel als de inzittende tijdens het opblazen te dichtbij of tegen de airbagmodule zit.De voor- en zijairbags lopen na het opblazen snel weer leeg. De zijairbag middenvoor en de gordijnairbags blijven enige tijd in opgeblazen toestand.
Het airbagsysteem werkt alleen wanneer de startknop in de ON-stand staat.
Als de startknop in de ON-stand staat, gaat het airbagwaarschuwingslampje gedurende ca. 7 seconden branden om vervolgens weer te doven. Dit betekent dat het systeem correct werkt. (Zie ${1}.)



De voorairbags worden over het algemeen niet opgeblazen bij een zijdelingse botsing, een botsing van achteren, bij het over de kop slaan of bij een lichte frontale botsing. Draag daarom altijd een veiligheidsgordel, zodat u de kans op ernstig letsel bij verschillende soorten ongevallen verkleint.
De veiligheidsgordels en de voorairbags werken het best als u rechtop zit met uw rug tegen de rugleuning. De voorairbags worden zeer snel en met grote kracht opgeblazen. U en uw passagiers kunnen ernstig of zelfs dodelijk letsel oplopen als u of een passagier tijdens een ongeval geen veiligheidsgordel draagt, naar voren of opzij leunt of een andere ongewone zithouding aanneemt. U en uw passagiers kunnen ook ernstige of zelfs fatale verwondingen oplopen als u tegen het voorairbagpaneel steunt op het moment dat de airbag wordt opgeblazen. Zit daarom altijd rechtop met uw rug tegen de rugleuning en zo ver van het stuurwiel of het dashboard vandaan als praktisch is. Maak altijd uw gordel vast.
Houd uw handen aan de buitenkant van het stuurwiel. Door ze aan de binnenkant van de stuurwielrand te plaatsen kan de kans op verwonding groter worden als de voorairbag wordt opgeblazen.







Laat kinderen altijd een gordel of zitje gebruiken en voorkom dat ze hun handen of gezicht buiten het raam houden. Houd kinderen niet op uw schoot vast of in uw armen. In de afbeeldingen ziet u enkele voorbeelden van gevaarlijke zithoudingen tijdens het rijden.
Kinderen kunnen ernstig of dodelijk letsel oplopen wanneer de airbags worden opgeblazen terwijl ze niet correct vastgemaakt zijn in een zitje.
Installeer nooit een achterwaarts gericht kinderzitje op de voorpassagiersstoel zonder dat de voorpassagiersairbag is uitgeschakeld. Een voorairbag die wordt opgeblazen kan uw kind ernstig of dodelijk verwonden. (Zie
.)





De zijairbag middenvoor, de zijairbags en de gordijnairbags worden over het algemeen niet opgeblazen bij een frontale botsing, bij een botsing van achteren, bij kantelen of bij een lichte botsing van opzij. Draag altijd uw veiligheidsgordel, om de kans op letsel of de ernst ervan bij een ongeval te beperken.
De veiligheidsgordels en de zijairbag middenvoor, de zijairbags en de gordijnairbags werken het best als u rechtop op de stoel zit met uw rug tegen de rugleuning. De zijairbag middenvoor, de zijairbags en de gordijnairbags worden met grote kracht opgeblazen. U en uw passagiers kunnen ernstig of zelfs dodelijk letsel oplopen als u of een passagier tijdens een ongeval geen veiligheidsgordel draagt, naar voren of opzij leunt of een andere ongewone zithouding aanneemt.
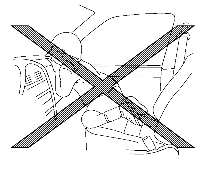
Zorg ervoor dat niemand zijn/haar handen, benen of gezicht in de buurt van de zijairbag middenvoor, de zijairbags en de gordijnairbags in het midden van de rugleuning van de bestuurdersstoel, in de zijkanten van de rugleuning van de voorstoelen of dichtbij de zijdakrails houdt. Laat niemand op de voorstoelen of de buitenste zitplaatsen achterin de handen of armen uit het raam steken of tegen de portieren leunen. In de afbeeldingen ziet u enkele voorbeelden van gevaarlijke zithoudingen tijdens het rijden.
Leun of hang niet aan de rugleuningen van de voorstoelen als u op de achterbank zit. Als de zijairbag middenvoor, de zijairbags en de gordijnairbags opgeblazen worden, kunt u ernstig letsel oplopen. Wees in het bijzonder voorzichtig met kinderen, die altijd in een geschikt kinderzitje geplaatst moeten worden.
Gebruik geen niet-originele stoelhoezen op de rugleuningen van de voorstoelen. Deze kunnen de werking van de zijairbag middenvoor en de zijairbags belemmeren.