Nissan X-Trail e-POWER 2024 Gebruikershandleiding
5.5.7. Boordcomputer


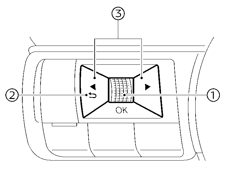
De schakelaars voor de boordcomputer bevinden zich aan de linkerzijde van het stuurwiel.
- Bladerknop - navigeer door de items en verander of selecteer een item op het voertuiginformatiedisplay
- met deze bladerknop is het mogelijk om omhoog/omlaag te navigeren en door indrukken te selecteren
- om terug te gaan naar het vorige menu
- om van het ene displayscherm over te gaan op het volgende (bijv. trip, brandstofbesparing)
De weergegeven afbeeldingen kunnen verschillen afhankelijk van het model.
Gebruikershandleiding van Nissan