Nissan X-Trail e-POWER 2024 Gebruikershandleiding
5.3.1.1. De meterschermweergave veranderen (modellen met volledige schermweergave)

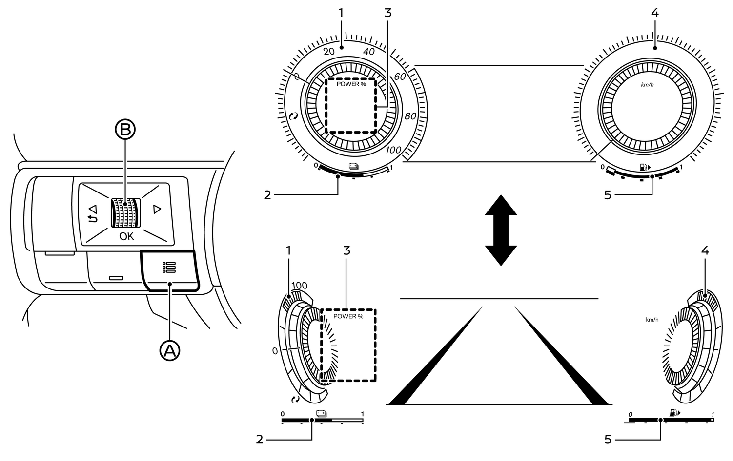
- Vermogensmeter
- Laadstroommeter van de lithium-ion accu
- Persoonlijk display
- Snelheidsmeter
- Brandstofmeter
Bij modellen met volledige schermweergave, kan de meterschermweergave veranderd worden om het weergavegebied van het voertuiginformatiedisplay te vergroten.
De weergave van het meterscherm wijzigen:
Druk op de snelmenuknop (A) aan de linkerkant van het stuurwiel.
[Menu snelkoppel.] verschijnt in het weergavegebied van het voertuiginformatiedisplay.
Selecteer [Wijzig schermweergave] door aan de bladerknop (B) te draaien en druk in om de weergave te wijzigen.
Gebruikershandleiding van Nissan