Nissan X-Trail e-POWER 2024 Gebruikershandleiding
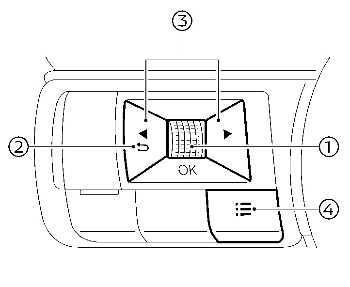
5.5.2. Het voertuiginformatiedisplay gebruiken

Het voertuiginformatiedisplay kan worden veranderd met de bladerknop (1),
(2), en
(3) op het stuurwiel.
- Bladerknop - navigeer door de items en verander of selecteer een item op het voertuiginformatiedisplay
- met deze bladerknop is het mogelijk om omhoog/omlaag te navigeren en door indrukken te selecteren
- om terug te gaan naar het vorige menu
- om van het ene displayscherm over te gaan op het volgende (bijv. trip, brandstofbesparing)
- toon het scherm [Menu snelkoppel.]
Gebruikershandleiding van Nissan