Nissan LEAF 2023 Gebruikershandleiding
5.6.1.3. In het dak gemonteerde gordijnairbags
Dit systeem beschermt bij bepaalde aanrijdingen van opzij de hoofden van de bestuurder en passagiers die voorin of achterin op de buitenste zitplaatsen zitten. De gordijnairbag in het dak is ontworpen om geactiveerd te worden aan de kant waar de botsing plaatsvindt.
Het SRS is ontworpen als aanvulling op de bescherming tegen ongevallen geboden door de veiligheidsgordels en is niet bedoeld als vervanging van de gordels. De airbags (SRS) kunnen de kans op dodelijk of ernstig letsel verkleinen. Het opblazen van de airbag kan echter ook schaafwonden of ander letsel veroorzaken. Airbags beschermen het onderlichaam niet. De veiligheidsgordels horen daarom steeds op de juiste wijze te worden omgedaan en inzittenden moeten op gepaste afstand van het stuurwiel blijven. Zie
. De airbags worden snel en met kracht opgeblazen, ter bescherming van de inzittenden. Door de kracht waarmee de airbags worden opgeblazen, bestaat er meer risico op letsel als de inzittende tijdens het opblazen te dichtbij of tegen de airbagmodule zit.De airbags lopen na opblazen snel weer leeg.
Het airbagsysteem werkt alleen wanneer de startknop in de ON-stand staat.
Als de startknop in de ON-stand staat, gaat het airbagwaarschuwingslampje gedurende ca. 7 seconden branden om vervolgens weer te doven. Dit betekent dat het systeem correct werkt. Zie ${1}.



De voorairbags worden over het algemeen niet opgeblazen bij een botsing van opzij of van achteren, bij over de kop slaan of een lichte frontale botsing. Draag altijd uw veiligheidsgordel, om de kans op letsel of de ernst ervan bij een ongeval te beperken.
De veiligheidsgordels en de voorairbags werken het best als u rechtop zit met uw rug tegen de rugleuning. De voorairbags worden zeer snel en met grote kracht opgeblazen. U loopt bij een botsing dan ook een grotere kans op letsel of de dood als uw gordel niet is vastgegespt of als u naar voren leunt, schrijlings op uw stoel zit of een andere verkeerde zitpositie aanneemt. U en uw passagiers kunnen ook ernstige of zelfs fatale verwondingen oplopen als u tegen het voorairbagpaneel steunt op het moment dat de airbag wordt opgeblazen. Zit daarom altijd achterover met uw rug tegen de rugleuning en zo ver als praktisch gezien mogelijk van het stuurwiel. Maak altijd uw gordel vast.







Laat kinderen altijd een gordel of zitje gebruiken en voorkom dat ze hun handen of gezicht buiten het raam houden. Houd kinderen niet op uw schoot vast of in uw armen. In de afbeeldingen ziet u enkele voorbeelden van gevaarlijke zithoudingen tijdens het rijden.
Kinderen kunnen ernstig of dodelijk letsel oplopen wanneer de airbags worden opgeblazen terwijl ze niet correct vastgemaakt zijn in een zitje.
Installeer nooit een achterwaarts gericht kinderzitje op de voorpassagiersstoel. Een voorairbag die wordt opgeblazen kan uw kind ernstig of dodelijk verwonden. Zie
.





De zijairbags in de voorstoelen en de gordijnairbags in het dak zullen normaliter niet opgeblazen worden bij een frontale botsing, een aanrijding van achter, wanneer de auto kantelt of bij een lichte impact aan de zijkant. Draag altijd uw veiligheidsgordel, om de kans op letsel of de ernst ervan bij een ongeval te beperken.
De veiligheidsgordels, de zijairbags in de voorstoelen en de gordijnairbags zijn het meest effectief wanneer u goed met uw rug tegen de rugleuning en rechtop zit. De zijairbags in de voorstoelen en de gordijnairbags worden met enorme kracht opgeblazen. U en uw passagiers kunnen ernstig of zelfs dodelijk letsel oplopen als u of een passagier tijdens een ongeval geen veiligheidsgordel draagt, naar voren of opzij leunt of een andere ongewone zithouding aanneemt.
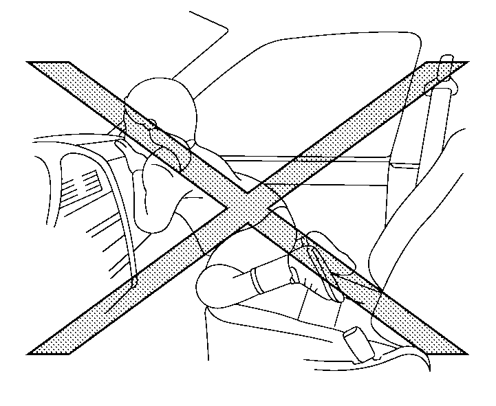
Het is raadzaam om handen, benen of gezicht uit de buurt van de zijairbags en de gordijnairbags te houden, dus weg van de zijkant van de rugleuning van de voorstoelen en van de zijkant van de dakbekleding. Laat niemand op de voorstoelen of de buitenste zitplaatsen achterin de handen of armen uit het raam steken of tegen de portieren leunen. In de afbeeldingen ziet u enkele voorbeelden van gevaarlijke zithoudingen tijdens het rijden.
Leun of hang niet aan de rugleuningen van de voorstoelen als u op de achterbank zit. Als de zijairbags in de voorstoelen en de gordijnairbags opgeblazen worden, kan dat ernstig letsel veroorzaken. Wees in het bijzonder voorzichtig met kinderen, die altijd in een geschikt kinderzitje geplaatst moeten worden.
Gebruik geen stoelhoezen op de rugleuningen van de voorstoelen. Deze kunnen het opblazen van de zijairbags in de voorstoelen belemmeren.